DRAGON STEEL PRODUCTS






LOADRATED SHACKLE AND COMMERIAL SHACKLE


HDG FORGED ANCHOR SHACKLEHDG FORGED SAFETY SHACKLE
HDG FORGED CHAIN SHACKLE TRAWL CHAIN SHACKLE
ELE GALV COMM SHACKLEWEBBING SHACKLE
MORE SHACKLE

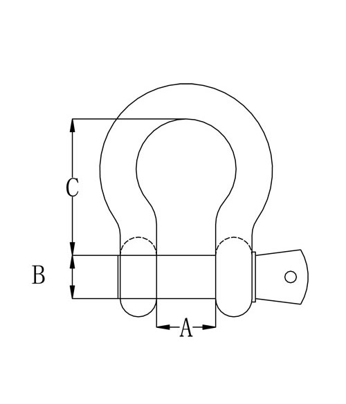
LOADRATED ANCHOR SHACKLE

HOT DIP GALVANIZED DROP FORGED ANCHOR SHACKLE
Stock No. Nominal Size W.L.L Dimensions(in) Weight(lbs) Weight(lbs)
(in) (tons) A B C Screw Pin Type Round Pin Type
HGLR316SPAS/RPAS   3/16   1/3 0.38 0.25 0.88 0.06 0.06
HGLR014SPAS/RPAS   1/4   1/2 0.47 0.31 1.13 0.1 0.13
HGLR516SPAS/RPAS   5/16   3/4 0.53 0.38 1.22 0.19 0.18
HGLR038SPAS/RPAS   3/8 1      0.66 0.44 1.44 0.31 0.29
HGLR716SPAS/RPAS   7/16 1  1/2 0.75 0.5 1.69 0.38 0.38
HGLR012SPAS/RPAS   1/2 2      0.81 0.63 1.88 0.72 0.71
HGLR058SPAS/RPAS   5/8 3  1/4 1.06 0.75 2.38 1.37 1.5
HGLR034SPAS/RPAS   3/4 4  3/4 1.25 0.88 2.81 2.35 2.32
HGLR078SPAS/RPAS   7/8 6  1/2 1.44 1 3.31 3.62 3.49
HGLR001SPAS/RPAS 1      8  1/2 1.69 1.13 3.75 5.03 5
HGLR118SPAS/RPAS 1  1/8 9  1/2 1.81 1.25 4.25 7.41 6.97
HGLR114SPAS/RPAS 1  1/4 12      2.03 1.38 4.69 9.05 9.75
HGLR138SPAS/RPAS 1  3/8 13  1/2 2.25 1.5 5.25 13.53 13.25
HGLR112SPAS/RPAS 1  1/2 17      2.38 1.63 5.75 17.2 17.25
HGLR134SPAS/RPAS 1  3/4 25      2.88 2 7 27.78 29.46
HGLR002SPAS/RPAS 2      35      3.25 2.25 7.75 45 45.75
HGLR212SPAS/RPAS 2  1/2 55      4.13 2.75 10.5 85.75 87.12
Ultimate load is 6 times working load limit

BACK TO TOP
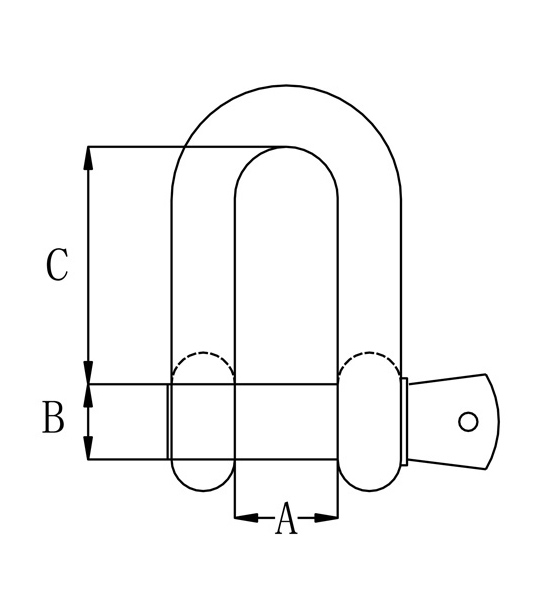
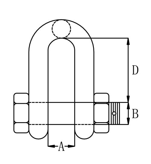
LOADRATED BOLT TYPE SAFETY SHACKLE



HOT DIP GALVANIZED DROP FORGED BOLT TYPE SHACKLE
Stock No. Nominal Size W.L.L Dimensions (in) Weight(lbs) Weight(lbs)
(in) (tons) A B C D Bow Type Dee Type
HGLR012SAS/SCS   1/2 2      0.81 0.63 1.88 1.61 0.79 0.75
HGLR058SAS/SCS   5/8 3  1/4 1.06 0.75 2.38 2 1.68 1.47
HGLR034SAS/SCS   3/4 4  3/4 1.25 0.88 2.81 2.38 2.72 2.52
HGLR078SAS/SCS   7/8 6  1/2 1.44 1 3.31 2.81 3.95 3.85
HGLR001SAS/SCS 1      8  1/2 1.69 1.13 3.75 3.19 5.66 5.55
HGLR118SAS/SCS 1  1/8 9  1/2 1.81 1.25 4.25 3.58 8.27 7.6
HGLR114SAS/SCS 1  1/4 12      2.03 1.38 4.69 3.94 11.71 10.81
HGLR138SAS/SCS 1  3/8 13  1/2 2.25 1.5 5.25 4.38 15.83 13.75
HGLR112SAS/SCS 1  1/2 17      2.38 1.63 5.75 4.81 20.8 18.5
HGLR134SAS/SCS 1  3/4 25      2.88 2 7 5.75 33.91 31.4
HGLR002SAS/SCS 2      35      3.25 2.25 7.75 6.75 52.25 46.75
HGLR212SAS/SCS 2  1/2 55      4.13 2.75 10.5 8 98.25 85
HGLR212SAS/SCS 3      85      5 3.25 13 8.5 154 124.25
Ultimate load is 6 times working load limit


BACK TO TOP
LOADRATED CHAIN SHACKLE


HOT DIP GALVANIZED DROP FORGED CHAIN SHACKLE
Stock No. Nominal Size W.L.L Dimensions(in) Weight(lbs) Weight(lbs)
(in) (tons) A B C Screw Pin Type Round Pin Type
HGLR316SPAS/RPAS   3/16   1/3 0.38 0.25 0.88 0.06 0.06
HGLR014SPAS/RPAS   1/4   1/2 0.47 0.31 1.13 0.1 0.13
HGLR516SPAS/RPAS   5/16   3/4 0.53 0.38 1.22 0.19 0.18
HGLR038SPAS/RPAS   3/8 1      0.66 0.44 1.44 0.31 0.29
HGLR716SPAS/RPAS   7/16 1  1/2 0.75 0.5 1.69 0.38 0.38
HGLR012SPAS/RPAS   1/2 2      0.81 0.63 1.88 0.72 0.71
HGLR058SPAS/RPAS   5/8 3  1/4 1.06 0.75 2.38 1.37 1.5
HGLR034SPAS/RPAS   3/4 4  3/4 1.25 0.88 2.81 2.35 2.32
HGLR078SPAS/RPAS   7/8 6  1/2 1.44 1 3.31 3.62 3.49
HGLR001SPAS/RPAS 1      8  1/2 1.69 1.13 3.75 5.03 5
HGLR118SPAS/RPAS 1  1/8 9  1/2 1.81 1.25 4.25 7.41 6.97
HGLR114SPAS/RPAS 1  1/4 12      2.03 1.38 4.69 9.05 9.75
HGLR138SPAS/RPAS 1  3/8 13  1/2 2.25 1.5 5.25 13.53 13.25
HGLR112SPAS/RPAS 1  1/2 17      2.38 1.63 5.75 17.2 17.25
HGLR134SPAS/RPAS 1  3/4 25      2.88 2 7 27.78 29.46
HGLR002SPAS/RPAS 2      35      3.25 2.25 7.75 45 45.75
HGLR212SPAS/RPAS 2  1/2 55      4.13 2.75 10.5 85.75 87.12
Ultimate load is 6 times working load limit

BACK TO TOP
TRAWL SHACKLE


TRAWLING CHAIN SHACKLE WITH SQUARE HEAD PIN
Stock No. Norminal Size W.L.L Dimensions(in) Weight
(in) (kgs) Inside Length Inside Width at Pin (lbs)
TRC014SSPAS/SPCS   1/4 100   7/8  15/32 0.12
TRC516SSPAS/SPCS   5/16 200 1  1/32   1/2 0.14
TRC038SSPAS/SPCS   3/8 300 1  1/4  11/16 0.26
TRC012SSPAS/SPCS   1/2 500 1  5/8  13/16 0.49
TRC058SSPAS/SPCS   5/8 800 2      1  1/16 1.1
TRC034SSPAS/SPCS   3/4 1000 2  3/8 1  1/4 2.2
TRC078SSPAS/SPCS   7/8 1500 2 13/16 1  7/16 3.28
TRC001SSPAS/SPCS 1      2000 3 23/32 1 31/32 3.96
TRC118SSPAS/SPCS 1  1/8 3000 4  5/32 2  3/16 6.16
TRC114SSPAS/SPCS 1  1/4 3500 4 23/32 2 17/32 9.46
TRC134SSPAS/SPCS 1  3/4 7000 6 11/16 3 17/32 10
TRC002SSPAS/SPCS 2      8000 7  9/32 3 15/16 15
TRC214SSPAS/SPCS 2  1/4 10000 8 15/32 4 11/32 22
TRC212SSPAS/SPCS 2  1/2 14000 9 21/32 4 23/32 30

BACK TO TOP
COMMERCIAL SHACKLE


U.S TYPE COMMERCIAL SHACKLE
Stock No.  Nominal Size W.L.L Pin Dia Weight(lbs)
(in) (kgs) (in) Dee Type Bow Type
USC316SPAS/SPCS   3/16 200        1/4 0.044 0.044
USC014SPAS/SPCS   1/4 300        5/16 0.088 0.088
USC516SPAS/SPCS   5/16 500        3/8 0.11 0.11
USC038SPAS/SPCS   3/8 750        7/16 0.265 0.265
USC716SPAS/SPCS   7/16 1000        1/2 0.415 0.418
USC012SPAS/SPCS   1/2 1500        5/8 0.436 0.44
USC058SPAS/SPCS   5/8 2000        3/4 1.317 1.32
USC034SPAS/SPCS   3/4 3000        7/8 1.896 1.915
USC078SPAS/SPCS   7/8 3500      1      3.05 3.08
USC001SPAS/SPCS 1      5000      1  1/8 4.356 4.4
USC118SPAS/SPCS 1  1/8 6000      1  1/4 6.535 6.6
USC114SPAS/SPCS 1  1/4 7500      1  3/8 8.276 8.36
USC138SPAS/SPCS 1  3/8 8500      1  1/2 11.98 12.1
USC112SPAS/SPCS 1  1/2 10500      1  3/4 16.335 16.5


EUROPEAN TYPE COMMERCIAL SHACKLE
Stock No. Size W.L.L Inside Length Weight(kgs)
(mm) (kgs) (mm) Large Bow Type Large Dee Type
EUC05SPAS/SPCS 5 80 19 0.019 0.018
EUC06SPAS/SPCS 6 100 25 0.034 0.032
EUC08SPAS/SPCS 8 200 32 0.07 0.067
EUC10SPAS/SPCS 10 320 38 0.13 0.126
EUC12SPAS/SPCS 12 520 51 0.26 0.235
EUC16SPAS/SPCS 16 800 64 0.5 0.494
EUC20SPAS/SPCS 20 1100 76 0.8 0.79
EUC22SPAS/SPCS 22 1500 89 1.3 1.28
EUC25SPAS/SPCS 25 2100 100 2 1.98
EUC28SPAS/SPCS 28 3000 115 3 2.97
EUC32SPAS/SPCS 32 4000 120 4 4.25
EUC38SPAS/SPCS 38 5000 148 6.8 6.73
EUC45SPAS/SPCS 45 7000 170 15 14.85
EUC50SPAS/SPCS 50 8000 185 16 15.84
EUC57SPAS/SPCS 57 10000 215 24 23.76
EUC63SPAS/SPCS 63 14000 245 33 32.67

BACK TO TOP
HEAVY DUTY WEBBING SHACKLE


HEAVY DUTY WEBBING SHACKLE
Stock No.  Pin Dia For Strap W.L.L Weight
(in) (in) (lbs) (lbs)
HDWS034   3/4 2 8000 1.6
HDWS078   7/8 4 10800 3.1
HDWS001 1 6 18000 4.8
HDWS114 1  1/4 12 24000 9.4


BACK TO TOP
MORE SHACKLES








Drop Forged Equipment Heat Treatment Line Inventory